My Garage
Cart

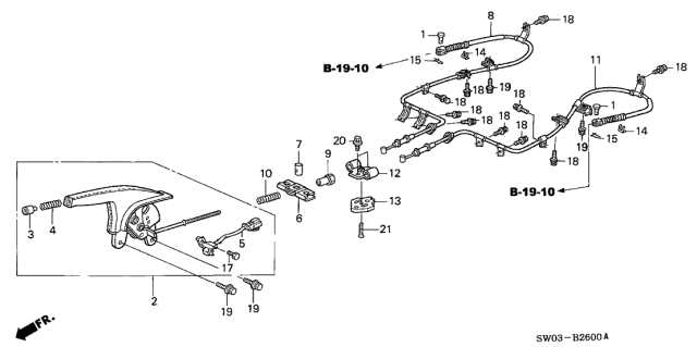
Parking Brake fit your 2001 Acura NSX 2 Door NSX-T KA 6MT

Currently shopping for
2001 Acura NSX
Change Vehicle
Vehicle Options
2 Door NSX-T; KA 6MT
Vehicle Options
2 Door NSX-T; KA 6MT
Diagram (1 of 1): Parking Brake
2001 Acura NSX 2 Door NSX-T KA 6MT Parking Brake Diagram
Enlarge Diagram
Sort by:
Ref No.
Ref No.
Part No. & Part Description
Price & Qty.
Part No. &
Part Description
Genuine Acura Parts, the Right Choice
AcuraPartsWarehouse.com offers the wholesale prices for genuine 2001 Acura NSX parts. Parts like Parking Brake are shipped directly from authorized Acura dealers and backed by the manufacturer's warranty. Parts fit for the following vehicle options. Body & Trim: 2 Door NSX-T. Emission & Transmission: KA 6MT.